MyBatis 面试知识点
作者:村雨遥
不要哀求,学会争取,若是如此,终有所获
🎈 号外
最近,公众号之外,建立了微信交流群,不定期会在群里分享各种资源(影视、IT 编程、考试提升……)&知识。如果有需要,可以扫码或者后台添加小编微信备注入群。进群后优先看群公告,呼叫群中【资源分享小助手】,还能免费帮找资源哦~
Hibernate 简介
什么是 Hibernate?
Hibernate 是一种 ORM(Object Relational Mapping) 框架,用于在 Java 对象和关系数据库之间建立某种映射,从而实现 Java 对象存取;
Hibernate 优缺点
优点
Hibernate 建立在 POJO 和数据库表模型的直接映射关系之上。通过 XML 或者注解就能和数据库表进行映射。通过 POJO 直接就能操作数据库中的数据,提供的是对于全表的映射模型。主要有如下优点:
- 消除了代码映射规则,被分离到
XML或注解中配置; - 配置在
XML中后,无需再管理数据库连接; - 一个会话中,不用操作多个对象,只要操作
Session对象即可; - 关闭资源只需关闭
Session;
缺点
- 由于是全表映射,所以某些操作不方便,比如更新需要发送所有字段;
- 无法根据不同条件组装不同的
SQL; - 对多表关联和复杂
SQL查询支持较差,需要自己写SQL,返回后还需要自己将数据组成POJO; - 不能有效支持存储过程;
MyBatis 简介
什么是 MyBatis?
MyBatis 一款支持自定义 SQL 查询、存储过程和高级映射的持久层框架,消除了几乎所有 JDBC 代码和参数的手动配置以及结果集的检索。只需要使用 XML 或注解进行配置和映射,MyBatis 就能将参数映射到配置的 SQL 形成最终执行的 SQL 语句,最后将执行 SQL 的结果映射为 Java 对象返回;
MyBatis 优缺点
优点
- 小巧,学习成本低,会写 SQL 语句就能很快上手;
- 无需过多配置 JDBC,主要专注 SQL 开发;
- 方便维护管理,SQL 不用在 Java 代码中找,SQL 代码可以分离重用;
- 灵活,支持动态 SQL;
- 支持对象与数据库 ORM 字段关系映射;
缺点
- 主要工作集中在 SQL 开发,所以对 SQL 熟练度要求较高;
- 移植性查,SQL 依赖于数据库,切换不同数据库会因语法差异而报错;
MyBatis 和 Hibernate 的区别
相同点
均是对 JDBC 的封装,都是持久层的框架,用于 Dao 层的开发;
不同点
| 映射关系 | SQL优化和移植性 | 开发难易程度和学习成本 | |
|---|---|---|---|
| Hibernate | 全自动映射,配置 Java 对象与数据库表的对应关系,多表关联关系配置复杂 | 对 SQL 语句封装,提供了日志、缓冲、级联等特性,此外还提供 HQL 操作数据库,数据库无关系支持好,但会多消耗性能 | 重量级,门槛高,适合需求稳定、中小型项目 |
| MyBatis | 半自动映射,配置 Java 对象与 SQL 语句执行结果的对应关系,多表关联关系配置简单 | 需要手动编写 SQL,支持动态 SQL、处理列表、动态生成表名、支持存储过程;开发工作量相对较大,直接使用 SQL 语句操作数据库,不支持数据库无关性,但 SQL 语句优化容易 | 轻量级,门槛低,适合需求变化频繁、大型项目 |
Hibernate 属于全自动的 ORM 映射工具,使用 Hibernate 查询关联对象或关联集合对象时,能根据对象关系模型直接获取,所以说它是全自动的;
而 MyBatis 属于半自动 ORM 映射工具,因为在查询关联对象或关联集合对象时,需要自己手动编写 SQL 来完成;
解析和运行原理
MyBatis 核心组件
- 构造器:
SqlSessionFactoryBuilder,根据配置信息或点来生成SqlSessionFactory; - 工厂接口:
SqlSessionFactory,依靠工厂来生成SqlSession; - 会话:
SqlSession,是一个既可以发送 SQL 去执行返回结果,也可以获取Mapper接口; - SQL Mapper:新设计的组件,由一个 Java 接口和 XML 文件(或注解)构成,需要给出对象的 SQL 和映射规则。负责发送 SQL 去执行,并返回结果;
MyBatis 编程步骤
- 创建
SqlSessionFactory; - 通过
SqlSessionFactory创建SqlSession; - 通过
SqlSession执行数据库操作; - 调用
session.commit()提交事务; - 调用
session.close()关闭会话;
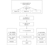
MyBatis 工作原理

- 首先读取
MyBatis配置文件:mybatis-config.xml,它是 MyBatis 的全局配置文件,配置了 MyBatis 的运行环境等信息; - 接着加载映射文件,即 SQL 映射文件,其中配置了操作数据库的 SQL 语句,需要在 MyBatis 配置文件
mybatis-config.xml中加载。它可以加载多个映射文件,每个文件对应数据表中的一张表; - 构造会话工厂,通过
mybatis的环境等配置信息构建会话工厂SqlSessionFactory; - 创建会话对象,由会话工厂创建
SqlSession对象,该对象包含执行 SQL 语句的所有方法; Executor执行器,MyBatis 底层定义了一个 Executor 接口来操作数据库,它根据SqlSession传递的参数动态生成所需执行的 SQL 语句,同时负责查询缓存的维护;MappedStatement对象,在Executor接口的执行方法中有一个MappedStatement类型的参数,该参数是对映射信息的封装,用于存储要映射的 SQL 语句的id,参数等信息;- 输入参数映射,输入参数类型可以是 Map、List 等集合类型,也可以是基本数据类型和 POJO 类型,此过程类似于 JDBC 对
preparedStatement对象设置参数的过程; - 输出结果映射,输出结果类型可以是 Map、List 等集合类型,也可以是基本数据类型和 POJO 类型,此过程类似于 JDBC 对结果集的解析过程;
映射器
${} 和 #{} 的区别
${}是拼接符,字符串替换,无预编译处理;#{}是占位符,预编译处理;- 处理
#{}时,传入参数以 字符串传入,会将 SQL 中的#{}替换为?,调用PreparedStatement中的set方法来赋值; - 处理
${}时,是 原值传入,会将${}替换为变量的值,相当于 JDBC 中的Statement编译; - 变量替换后 ,
#{}对应变量自动加上单引号‘’,而${}对应变量不会加单引号‘’; #{}能有效防止 SQL 注入,提高系统安全性,原因在于 预编译机制,预编译完成后,SQL 的结构已经固定,即使用户输入非法参数,也不会对 SQL 结构产生影响,从而避免潜在的安全风险;但${}不能防止 SQL 注入;#{}的变量替换是在 DBMS 中;${}的变量替换是在 DBMS 外;
预编译定义:预编译是提前对 SQL 语句进行编译,而后注入的参数不会再进行 SQL 编译;而一般 SQL 注入是发生在编译过程中,因为恶意注入了某些特殊字符,最后被编译为了恶意的执行操作,而预编译机制则能很好的防止 SQL 注入;
SQL 注入定义:Sql 注入攻击是通过将恶意的 Sql 查询或添加语句插入到应用的输入参数中,再在后台 Sql 服务器上解析执行进行的攻击;主要有 广泛性、隐蔽性、危害大、操作方便 等特点;
模糊查询 like
'%{question}%'可能引起 SQL 注入,不推荐使用;"%{question}%",因为#{}在解析时会在最外侧自动加单引号,所以外层需要使用双引号,不能使用单引号,否则将查询不到任何结果;CONCAT('%', #{question}, '%'),使用CONCAT()函数,推荐使用;- 使用
bind标签;
<select id="user" resultType="com.cunyu.User">
<bind name="pattern" value = "'%' + userName + '%'"/>
SELECT id, sex, age, username, password from persion where username LIKE #{pattern}
</select>mapper 中如何传递多个参数
- 顺序传参
#{} 中的数字代表传入参数的顺序,不推荐使用,因为 SQL 层表达不直观,而且一旦顺序跳转则容易出错;
public User selectUser(String name, int id);
<select id="selectUser" resultMap="UserResultMap">
SELECT * FROM user WHERE user_name = #{0} and id = #{1}
</select>- @Param 注解传参
#{} 中的名称对应注解 @Param 括号中修饰的名称,是更加推荐的一种方式;
public User selectUser(@Param("name") String name, @Param("id") int id);
<select id="selectUser" resultMap="UserResultMap">
SELECT * FROM user WHERE user_name = #{name} and id = #{id}
</select>- Map 传参
#{} 中的名称对应的是 Map 中的 key 名称,适合传递多个参数,且参数易变且能灵活传递的情况;
public User selectUser(Map<String, Object> params);
<select id="selectUser" resultMap="UserResultMap">
SELECT * FROM user WHERE user_name = #{name} and id = #{id}
</select>- Java Bean 传参
#{} 中名称对应的是类中的成员属性,通过这种方法更加直观,代码可读性强、业务逻辑处理方便;
public User selectUser(User user);
<select id="selectUser" parameterType="com.cunyu.pojo.User" resultMap="UserResultMap">
SELECT * FROM user WHERE user_name = #{name} and id = #{id}
</select>MyBatis 批量操作
使用 foreach 标签
foreach 主要用于构建 in 条件中,可以在 SQL 语句中进行迭代一个集合。foreach 标签的属性主要有 item、index、collection、open、separator、close;
| 标签 | 说明 |
|---|---|
item | 表示集合中每个元素进行迭代时的别名,随便取的变量名 |
index | 指定一个名字,用于表示在迭代过程中,每次迭代到的位置 |
collection | 必须指定,但在不同情况下的值不一样: 1. 若传入单参数且参数类型是 List,则其属性值为 list2. 若传入单参数且参数类型是一个数组,则其属性置为 array3. 若传入参数是多个时,需要将其封装为一个 Map |
open | 表示该语句以什么开始,常用 ( |
separator | 表示在每次进行迭代之间以何种符号作为分隔符,常用 , |
close | 表示该语句以什么结束,常用 ) |
使用 ExecutorType.BATCH
MyBatis 内置的 ExecutorType 有 3 种,默认为 simple,此时它为每个语句的执行创建了一个新的预处理语句,单挑提交 SQL;而 batch 模式重复使用已预处理的语句,且批量执行所有更新数据,其性能比 batch 更优;
MyBatis 分页及原理
MyBatis 内部是通过 RowBounds 对象进行分页,它是针对 ResultSet 结果集执行的内存分页,而非物理分页,可以直接编写带物理分页的参数的 SQL 实现分页,也可以 MyBatis 的分页插件 Page-Helper;
分页插件的基本原理: 使用 MyBatis 所提供的插件接口,实现自定义插件,在插件的拦截方法内拦截待执行的 SQL,然后重写 SQL,根据 dialect 方言,添加对应物理分页语句和物理分页参数;



